金钼股份:中国钼业之都
相关报告
- 2016-2022年中国铝包钢导线行业市场深度调查研究及投资咨询报告(2015-12-03)
- 2015-2020年中国硫酸铜行业市场重点层面调查研究报告(2015-09-28)
- 2015-2020年中国矿用防爆电器设备行业市场重点层面调查研究报告(2015-09-01)
- 2015-2020年中国硅酸盐胶粘剂行业市场调查研究及投资发展分析报告(2015-05-22)
- 2016-2022年中国贵金属合金区域行业市场调查研究及发展分析报告(2015-10-23)
- 2014-2018年铜矿项目商业计划书(2014-10-13)
- 2014-2018年中国电解铝行业市场全面深度调查研究及投资研究报告(2014-02-26)
- 2015-2020年中国冷冲压成型铝行业市场深度调查研究及投资前景分析报告(2015-03-25)
- 2014-2018年活性氧化铝项目商业计划书(2014-10-17)
- 2014-2018年铜氧化物项目商业计划书(2014-10-21)
公司是世界领先、亚洲最大的钼业公司。公司拥有钼采矿、选矿、冶炼、化工和金属深加工上下游一体化的完整产业链条;拥有亚洲最大的露天钼矿山、钼选厂和冶炼厂以及先进的钼化工和钼金属深加工生产线。公司已形成完善的全球一体化营销网络,“JDC”品牌在行业内享誉全球。
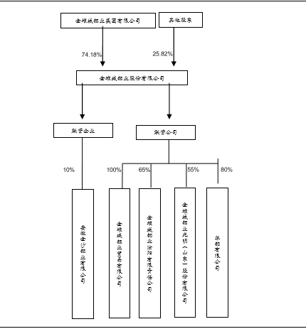
金钼股份股权结构(2015半年报)

1、2015年上半年钼产量全球占比为6.7%
公司主要从事钼系列产品生产、科研、贸易等业务,生产钼炉料、钼化工、钼金属深加工三大系列二十多种品质优良的各类产品,广泛应用于钢铁冶炼、石油化工、机械制造、航空航天、电子照明、生物医药等领域。
2015年上半年全球钼精矿总产量约为12万吨,公司生产量为0.8万吨,占比约为6.7%;2014年全球钼精矿总产量约为24万吨,公司生产量为1.7万吨,占比约为7.1%。公司生产的氧化钼部分作为产品直接销售,部分作为下游钼产品的原料,因此公司氧化钼产量大于库存量与销售量之和。
金钼股份主要产品产销量

本文地址:http://www.zwzyzx.com/content-264-218692-1.html
上一篇:陕西有色集团子公司情况及主营
下一篇:陕西有色集团金属储量情况
相关资讯
- 工艺压缩机的市场现状及规模预测(2015-08-08)
- 国新能源:受益于“气化山西”及气价下调(2016-07-14)
- ST山煤公司概况:煤炭开采盈利能力较好,贸易业务资源丰富但盈利能力(2016-10-25)
- 中国风电行业发展趋势(2016-03-02)
- 中天能源:民营一体化天然气运营商,外延并购助力高成长(2016-09-20)
- 铅锌储量:中国位居世界第二(2016-07-11)
- 目前,我国核废料公路运输每年2-4次,2020年运输 市场空间可达每年3.5亿元(2016-08-19)
- 国统股份:业务转型,受益海绵城市弹性标的(2016-09-19)
合作媒体
最新报告
定制出版
热门报告
免责声明
中为咨询所引述的资料是用于行业市场研究以及讨论和交流,并注明出处,部分内容是由相关机构提供。若有异议请及时联系本公司,我们将立即依据相关法律对文章进行删除或作相应处理。查看详细》》



